
TGB pièces entretien réparation révision accessoires
Microfiches et schema eclatés des Pieces TGB BLADE 470 SL (No Serie RFCFTGTBD...Type:FTG-HRE)
Admission
Attelages Option
Axe Arriere
Cache Carter Gauche
Cache Carter Gauche 2
Carrosserie Arriere
Carrosserie Avant
Carter Moteur
Carter Moteur Droit
Carter Moteur Gauche
Carter Moteur Gauche 2
Chassis
Colonne Direction Sans Eps
Compteur
Culasse
Cylindre
Debitmetre
Differentiel Arriere
Distributeur Frein Arriere
Distributeur Frein Avant
Dosseret Arriere Option
Echappement
Eclairage Arriere
Eclairage Avant
Etiquettes De Securite
Filtre A Air
Guidon
Levier De Vitesses
Maitre Cylindre
Marche Pied
Moteur
Outils 1
Outils 2
Outils 3
Outils 4
Outils 5
Pare Brise Option
Pare Chocs
Pedale De Frein
Pompe A Carburant
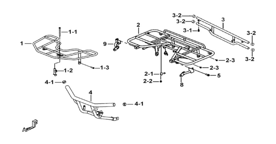
Porte Bagages Option
Porte Fusee De Direction
Protections Chassis Aluminium Option
Refroidissement
Reservoir
Roues Arriere
Roues Avant
Selle
Support Pare Chocs
Supports
Supports Moteur
Suspension Arriere
Suspension Avant
Systeme Electrique
Systeme Electrique 2
Systeme Electrique 3
Transmission
Treuil
Variateur
Vilebrequin

































































