
HYTRACK pièces entretien réparation révision accessoires
Microfiches et schema eclatés des Pièces Quad HY810SL 4x4 EPS
1consommables
Arbre A Cames
Autocollants
Cache Carter Moteur Droit
Cardans
Cardan Arriere
Carrosserie Arriere
Carrosserie Avant
Carter Moteur
Carter Moteur Droit
Carter Moteur Gauche
Chassis
Coffre
Culasse Modele A Injection
Cylindre
Direction
Dosseret
Echappement
Eclairage
Embiellage Modele A Injection
Ensemble Roues
Filtre A Air
Guidon
Lanceur
Moteur Eps
Pare Buffle
Plaques De Protection
Pont Arriere
Pont Avant Detaille 1
Pont Avant Detaille 2
Pont Avant Detaille 3
Pont Avant Detaille 4
Pont Avant Detaille 5
Porte Bagages
Rehausse De Selle Et Dosseret
Reservoir
Selecteur De Vitesses
Selle
Selle Version De Luxe
Suspension Arriere Droite
Suspension Arriere Gauche
Suspension Avant Droite
Suspension Avant Gauche
Systeme De Frein
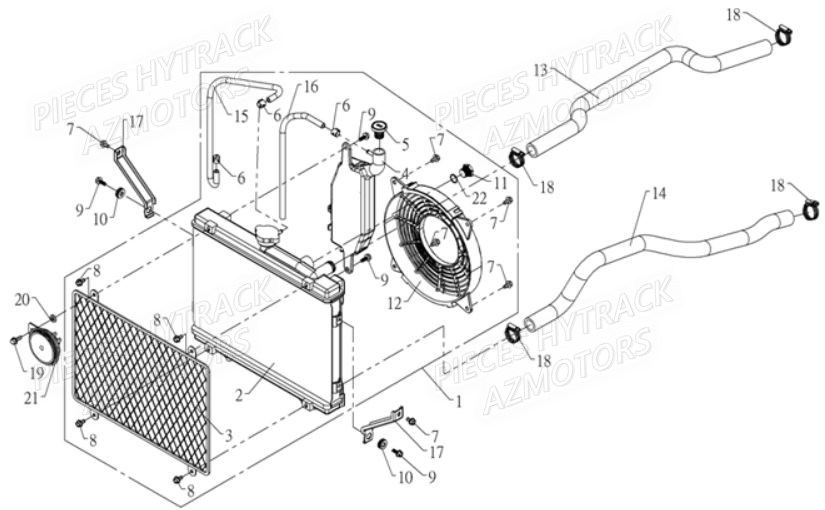
Systeme De Refroidissement
Systeme Electrique
Transmission
Variateur

























































